Hangzhou Cagon Transmission Technology Co.、Ltd。
Hangzhou Cagon Transmission Technology Co.、Ltd。
製品
製品
dredgerギアボックス
  • dredgerギアボックスdredgerギアボックス
  • dredgerギアボックスdredgerギアボックス
  • dredgerギアボックスdredgerギアボックス
  • dredgerギアボックスdredgerギアボックス
  • dredgerギアボックスdredgerギアボックス

dredgerギアボックス

このシリーズドレッジャーギアボックススペシャルフォースラリーポンプは、あらゆる種類のedge屋向けに開発された新製品であるため、国内の川や湖のdrの要求に応えています。インペラからのクラッチと劇、速度削減、ベアリングの引っ張りの機能を備えています。一方、ギアボックスは、陸上のスラリー輸送にも適しています。

特徴

1.この製品は、ドイツから導入されたテクノロジーと当社の現在の高度な技術を組み合わせた平均によって設計および製造されたスラリーポンプに特別なdredgerギアボックスです。したがって、シリーズギアボックスはパフォーマンスが完璧で、稼働が信頼性が高く、メンテナンスが便利です。

2。当社のギアボックスは、積分ハウジングで設計されており、フレームとしても使用できます。そのため、完璧な剛性とコンパクトな構造が特徴です。空気圧チューブクラッチを適用するスラリーポンプシステムと比較して、このシステムには、より短い軸の長さとより経済的な利点があります。

3。大容量のスラストベアリングを使用して、スラリーポンプインペラーからより大きな引っ張り力を負担します。

4.メンテナンスに便利なチューブタイプの油圧システムを適用します。また、高圧オイルラインはホースを使用して、ギアボックスの動作のノイズを大いに減らします。


dredgerギアボックスがマニュアルに従って正しく操作および維持される場合、かなり長期的に確実に機能します。特別な要求がある場合は、デザイナーに直接連絡してください。


章ⅰ技術データ

1. 一致する船の種類: あらゆる種類のドレージャー(また、スラリー輸送用の陸上)
2. 送信モード: らせん円筒ギア、2つのシャフト、2つのギア
3. クラッチタイプ: 油圧、ウェット、マルチプレート摩擦クラッチ
4. 中央距離: 360mm
5. 比率: 2.2〜4(実際のリクエストで決定される場合があります)
6. 入力力: 1060kw(実際の状況に応じて電力と速度が決定される場合があります)
7. 入力速度: 1300〜1800 rpm
8. 定格トランス。トルク 0.7 kW/rpm
9. インペラからの評価を受けた。 15t
10. 回転方向: 入力終了(向きの入力シャフトに向かいます):時計回り
出力端(出力シャフトに面している):時計回り
11. 機械的効率: ≥98%
12. エンゲージメント時間: 2s - 6s
13.1 働く油圧: 1.5 - 1.63 MPa
13.2 ラブ。油圧
通常の速度で:
アイドリング速度で:
0.2 - 0.4 MPa
0.05 MPa以上
14. オイルブランド: HC-11、HQ-10、またはSAE30(EP中毒性がない)
15. オイル容量: 〜l
16. ラブ。オイル温度: 40 –60℃
17. マックス。オイル温度: ≤80℃
18. 冷却水の消費: ≥5t/h
19. 冷却水温: ≤32℃
20. エンゲージメント速度 定格エンジン速度の60%以下


第章構造の紹介

1。一般

このdredgerギアボックスシステムは、スラリーポンプ用のシングルステージリダクションボックスであり、入力および出力シャフトが垂直に配置されています。メカニズムはスラリーポンプを駆動するように特別なものであるため、スラリーポンプケースは、出力駆動シャフトに直接取り付けられたボルトとスラリーポンプローターを備えたギアボックスハウジングに接続されています。ギアボックスは、あらゆる種類のedgeerだけでなく、斜めの陸上や直接駆動水ポンプにも適しています。

2。各アセンブリの構造

(2。1)入力シャフトアセンブリ:

クラッチケーシングは、入力シャフトに収縮しています。クラッチキャリアは、2つの円錐ローラーベアリングでサポートされるシャフトギアに接続されています。

入力シャフトの後端には2つのオイルサプライホールがあり、1つは油圧オイル用、もう1つは潤滑油用です。シャフトの後端にある溝の内側には、オイルタイト性のために設計されたシーリングリング(元の軸の厚さ3.4mm)が設計されています。 2.8mm未満の厚さに摩耗する場合は、更新する必要があります。

(2。2)出力シャフトアセンブリ:

出力ギアと出力シャフトは収縮しています。スラストベアリングは、スラストを負担するように設計されています。出力端では、Oリングとアスベストの梱包を使用してシールします。

(2。3)住宅集会:

ギアボックスハウジングは、上部および下部で構成されています。下部は別々に鋳造されており、多くのrib骨が配布された完璧な剛性を持っています。

(2。4)配管アセンブリ:

オイルは、吸引オリフィスからオイルポンプ、フィルター、2段バルブ、クーラー、そして各潤滑点またはクラッチに移動します。

エンジンが始まると、オイルポンプ2が機能し始めます。サンプから予定ルター1からオイルが圧縮され、冷却3とセカンダリフィルター4に送信されます。冷却およびろ過後、オイルの一部は反転バルブ7を介して先にクラッチ12のシリンダーにつながり、他の部分は作業圧力バルブでオーバーフローします。ノズルパイプを介して16。余分な潤滑油は、ラブを介してオイルサンプに戻ります。圧力バルブ11。セカンダリフィルター4が妨げられている場合、オイルはバイパスバルブ5から実行される場合があります。

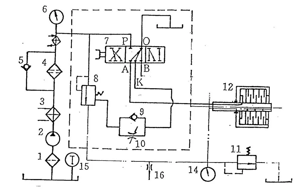
Dredger Gearbox

油圧システム図

1。プレフィルター2。オイルポンプ3。クーラー4。セカンダリフィルター
5。バイパスバルブ6。作業圧力計7。反転バルブ
8。作業圧力バルブ9。バルブ10を確認してください。スロットルバルブ
11。ラブ。圧力バルブ12。先のクラッチ13。LUB。圧力計
14。オイル温度計15。ノズルパイプ

反転バルブ7が停止位置にある場合、油圧オイルは、Clutch 12のシリンダーのボアA、B、Kのオイルに通信できません。

バルブ。現時点では、作業圧力バルブのスプリングは「帰宅」であり、システム圧力は初期油圧(0。3-0。6MPA)として比較的低くなっています。

バルブがエンゲージメントの位置にあるとき、プレスされたオイルは前方のクラッチ12のシリンダーに入り、前方のクラッチを巻き込みます。一方、オイルはボアKを通過し、スロットルバルブ9をチェックし、作業圧力バルブの制御端に入り、スプリングを圧縮するため、作業オイルの増加が指定値(1.9-2。2MPA)に遅れます。

スロットルバルブ10のオリフィスサイズを調整できます。配信されると、魅力的な時間は2〜4秒に設定されます。通常は自分でねじ込みません。

作業圧力は、圧力計で読むことができます。


章ⅲメンテナンスと賠償

1.サービスマニュアルに従って正しい設置と操作が行われれば、ギアボックスはかなり長い間確実に実行でき、オーバーホールは10、000時間を超えます。

2。ギアボックスは、配達日から12か月間有効なアンチラスト給油が配信されます。長期間保管されている場合、またはランニングを停止する場合は、タイムリーに検査および維持する必要があります。

3。最初の50時間実行されているギアボックスの後、フィルターカートリッジとプレフィルターをきれいにして、クリーンオイルを交換します。以下、「メンテナンスアイテム」で指定されたルールに従って維持します。

4。適切な条件でギアボックスを実行し続けるために、定期的な検査とメンテナンスを次のように配置することができます。

(1)毎日のメンテナンスACC。クラス1アイテムへ
(2)1000HメンテナンスACCごと。クラス2のアイテムへ
(3)5000HメンテナンスACCごと。クラス3アイテムへ
(4)10000HメンテナンスACCごと。クラス4アイテムへ


付録ⅰメンテナンス項目

いいえ。 説明 1 2 3 4
1 ギアボックス内のオイルレベルを確認してください Ö
2 ギアボックスの外で掃除します Ö
3 異常なノイズを確認してください Ö
4 油や水の漏れを確認してください Ö
5 きれいなフィルター Ö
6 きれいな動作バルブ Ö
7 オイルインポイントでオイルシールを確認してください Ö
8 入力カップリングと柔軟性の高いカップリングとエンジンフライホイールのアセンブリの精度を確認する Ö
9 出力カップリングと接続ネジのアセンブリの精度を確認します Ö
10 上部のカバープレートを取り外し、ギアとクラッチをチェックします Ö
11 オイルをチェックして更新します Ö
12 オイルポンプを確認してください Ö
13 クーラーをチェックしてクリーニングします Ö
14 入力および出力ケースシールを確認(または交換)します Ö
15 摩擦ディスクとシーリングリングを確認します Ö
16 ハウジングを解体し、各ベアリングをチェック(または交換)します Ö
17 ギアボックスとオイル通路の各部分を掃除します Ö


付録ⅱトラブルシューティング

いいえ。 トラブル 原因 救済策
1 ギアボックスの振動 1.低インストールの精度
2.ベルハウジングとサポーターの入力と出力のカップリングネジまたはボルト
3.領土振動
1. ADJUST ACC。マニュアルに
2。締めます 3.回想速度を回避します
2 いいえ、低すぎるまたは不安定な油圧 1.損傷したオイルポンプ
2.低オイルレベル
3。入口パイプの空気吸引
4.損傷した油圧計
5.エンジン回転方向は対応していません
1.繰り返しまたは更新
2.ADDオイル
3。ボルトを締めます
4。交換します
5. ACCを確認して解決します。オイルポンプのマニュアルに
3 油圧が低すぎる 1.チェック遅延スロットリングホール
2.閉鎖されたピストン
3.スプリング力が不十分です
1.Clean
2.クリーンと修理3.スプリングを再表示するか、ワッシャーを追加します
4 不安定なラブ。油圧 妨害されたラブ。オイルバルブコア 清潔で修理
5 クラッチが滑る 1.低いまたは不安定な油圧
2.摩擦ディスクを除く
3.オイルウェイまたは摩耗したシーリングリング
1.2および3に参照します
2.Renew
3.オイルウェイをチェックするか、シーリングリングを交換します
6 過剰な油温。 1.Clutch Slipping
2.冷却水の冷却が不十分である
3.高いオイルレベル
4.ベアリング、スラストリングなどのようなランニングパーツの損傷
5.オイルの熟成
1.No.5に参照
2.クーラーを締め、冷却水の流れを増やします
3.オイルACCに入力。ディップスティックに
4.損傷した部分を再表示します 5.オイルを抑制します
7 水または油の漏れ 1。破損したシール
2.損傷したシーリングフェイスまたは不純物が混在しています
3。フェイのフェイスにゆるいネジ
1.シールを交換します
2.表面密閉フェイスとコートシーリングガム
3.ネジを締めます


Input Shaftアセンブリ(JL360-1A-01-000)

いいえ。 説明 描画番号 数量 備考
1 入力フランジ JL360-017 1 17
2 スクリュー JB/ZQ4444-86 1 18
3 スナップリング GB/T894.1-86 1
4 ベアリング 224 1 29
5 ナット JL360-021 1 21
6 バッフルプレート JL360-030 1 30
7 シリンダー JL360-020 1 20
8 ピストン JL360-035 1 35
9 X-ring 4451 1 36
10 スナップリング S52029-451 1 32
11 X-ring 4432 1 34
12 スナップリング S52029-458 1 33
13 入力シャフト JL360-022 1 22
14 GB/T1567-79 1 23
15 ヘックスナット DIN6915A HV10 32 43
16 ボルト JL360-042 16 42
17 クラッチケーシング JL360-044 1 44
18 元。摩擦ディスク 3/0530/0034/1 9 37
19 で。摩擦ディスク 3/0539/0046/2 9 40
20 スラストプレート JL360-041 1 41
21 410-021-215 9 24
22 クラッチキャリア JL360-038 1 38
23 ベアリング 42520E 1 11
24 クラッチフランジ JL360-082 1 82
25 オイルインスペーサーブッシュ JL360-008 1 8
26 ベアリング 32226 1 7
27 入力シャフトギア JL360-006 1 6
28 ベアリング 32228 1 5
29 Oリング GB/T3452.1-82 2 19
30 オイルイントランスシャフト JL360-009 1 9
31 ベアリング 111 1 4
32 シーリングリング 300-01-016 2 3


autputシャフトアセンブリ(JL360-1A-02-000)

いいえ。 説明 描画番号 数量 備考
1 スナップリング GB/T894.1-86 1
2 ホイールを回します JL360-045 1
3 JL360-052 1
4 NB170-017 8
5 ベアリング 903942E 1
6 スペーサー JL360-056 1
7 ベアリング 3053730 1
8 スペーサーブッシュ JL360-058 1
9 丸いナット JL360-1-077 1
10 圧力プレート JL360-060 1
11 ベアリング 39434E 1
12 圧力プレート JL360-062 1
13 ギヤ JL360-064 1
14 GB / T1096-79 1
15 出力シャフト JL360-047 1
16 ベアリング 3003740 1


Housing Assembly(JL360-1A-03-000)

いいえ。 説明 描画番号 数量 備考
1 アッパーハウジング JL360-054 1 54
2 ボルト GB/T5782-86 2 83
3 ボルト GB/T5782-86 6 78
4 ピン GB / T118-86 2 73
5 ボルト GB/T5783-86 12 70
6 ブリーザーセット 120C-04-000 1 63
7 ボルト GB/T5783-86 16 74
8 CoverPlate JL360-075 2 75
9 ガスケット JL360-076 2 76
10 Oリング GB/T3452.1-82 1 80
11 ピン GB/T119-86 2 31
12 ボルト GB/T5783-86 4 67
13 分割シーリングカバー JL360-066 1 66
14 パッキング 15.9×15.9 1 81
15 ナット GB/T6170-86 4 68
16 ボルト GB/T5783-86 16 50
17 オイルバッフルスリーブ JL360-002 1 2
18 ディストリビューターブロック JL360-001 1 1
19 ボルト JB/T1000-77 2 13
20 銅ワッシャー Q20-03 2 14
21 低い住宅 JL360-012 1 12
22 ナット GB/T6170-86 6 77
23 オイルシール GB/T9877.1-88 2 46
24 ビッグエンドカバー JL360-015 1 15
25 ボルト GB/T5782-86 10 69
26 パッキング 9.5×9.5 1 27
27 入力分割シーリングカバー JL360-026 1 26
28 Oリング GB/T3452.1-82 1 25
29 ピン GB/T120-86 2 19
30 ボルト GB/T5782-86 6 16


スラリーポンプギアボックスJL360-1Aのねじれ振動計算のデータ

Dredger Gearbox


ⅰ。慣性の瞬間

I1。入力フランジと入力シャフトの一部。

i2。シリンダー、ピストン、クラッチキャリア、内部摩擦ディスク、オイルインシャフト、入力シャフトの一部。

i3。クラッチケーシング、クラッチフランジ、外部摩擦ディスク、および入力シャフトギアの一部。

i4。入力シャフトギアの一部。

i5。出力ギアと出力シャフトの一部。

i6。出力シャフトの一部。

ⅱ。ねじり剛性

C1。入力シャフト

C2。入力シャフトギア

C3。出力シャフト


ギアボックスJL360-1Aのねじれ振動計算のためのデータシート

ⅰ。慣性の瞬間

コード 比率 慣性の瞬間
i 私(kg・㎡)
I1 2。56 0。9137
i2 2。56 1。1786
i3 2。56 3。9177
i4 2。56 0。2862
i5 2。56 9。734
i6 2。56 0。729


ⅱ。ねじりスプリングの剛性とシャフトの直径

コード 比率 ねじりスプリングの剛性 シャフト直径
i C(10 n・m/rad) D(mm)
C1 2。56 5。18 110
C2 2。56 12。66 130/45
C3 2。56 9。79 150


注記:*1絶対値、値を変換するのではありません

*2中空シャフト


ホットタグ: dredgerギアボックス
お問い合わせを送信
連絡先情報
24時間以内に海洋送信のカスタマイズされた価格の見積もりを取得します。多分類認証を備えた中国工場。今すぐプロジェクトの要件を提出してください!
X
We use cookies to offer you a better browsing experience, analyze site traffic and personalize content. By using this site, you agree to our use of cookies. Privacy Policy
Reject Accept